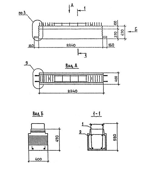
1Р 6

Чертеж изделия:
Характеристики изделия:
ПараметрЗначение
длина2560 мм
ширина400 мм
высота600 мм
масса1200 кг
нормативный документСерия 1.020.1-2с/89

1Р6  Ригели для одностороннего опирания плит Серия 1.020.1-2с/89.