4БНУ 13.6.50

Чертеж изделия:
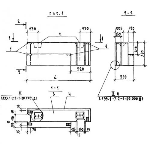
Характеристики изделия:
ПараметрЗначение
длина1290 мм
ширина500 мм
высота580 мм
вес380 кг
серия1.133.1-7

4БНУ 13.6.50 Блоки поясные угловые по серии 1.133.1-7.