РПС 12

Чертеж изделия:
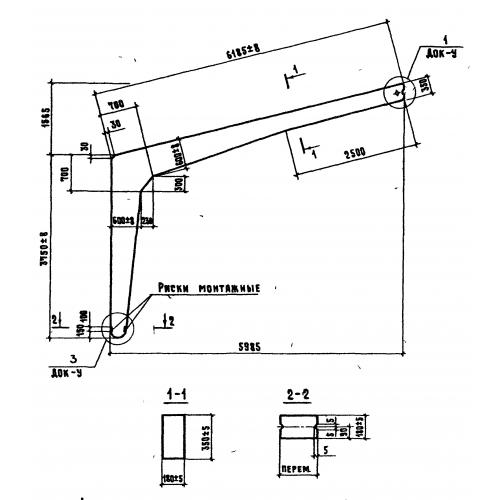
Характеристики изделия:
ПараметрЗначение
длина6185 мм
ширина180 мм
высота5315 мм
вес2000 кг
серия1.822.1-2/82

РПС 12 Сельскохозяйственные полурамы по серии 1.822.1-2/82.