ПСД 21.30.25

Чертеж изделия:
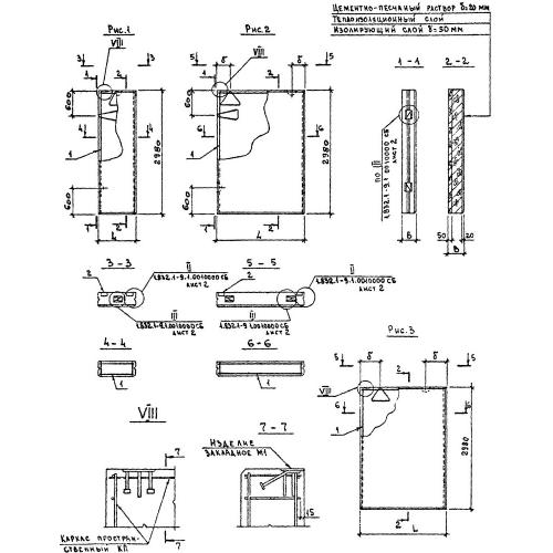
Характеристики изделия:
ПараметрЗначение
длина2080 мм
ширина250 мм
высота2980 мм
вес2500 кг
серия1.832.1-9

ПСД 21.30.25 Панели стеновые двухслойные по серии 1.832.1-9.