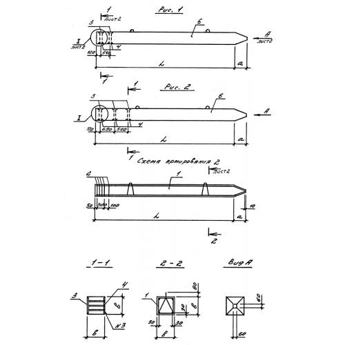
СУ 7-30
Характеристики изделия:
| Параметр | Значение |
|---|---|
| длина | 7000 мм |
| ширина | 300 мм |
| высота | 300 мм |
| масса | 1620 кг |
| нормативный документ | Серия 3.016.1-9 |
Цена:
Рассчитать стоимостьСУ 7-30 Сваи-колонны усиленного армирования (для особых климатических условий) Серия 3.016.1-9.
