Р
Характеристики изделия:
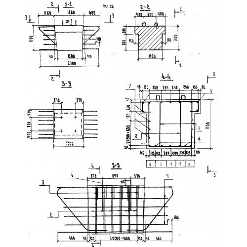
| Параметр | Значение |
|---|---|
| длина | 2700 мм |
| ширина | 1400 мм |
| высота | 1100 мм |
| вес | 4300 кг |
| серия | 3.503.1-53 |
Цена:
Рассчитать стоимостьР Блоки ригеля по серии 3.503.1-53.
| Параметр | Значение |
|---|---|
| длина | 2700 мм |
| ширина | 1400 мм |
| высота | 1100 мм |
| вес | 4300 кг |
| серия | 3.503.1-53 |
Р Блоки ригеля по серии 3.503.1-53.
