Л-2

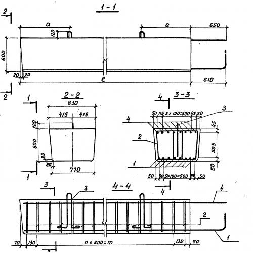
Чертеж изделия:
Характеристики изделия:
ПараметрЗначение
длина4850 мм
ширина830 мм
высота720 мм
вес5000 кг
серия3.503.1-57

Л-2 Блоки лежня по серии 3.503.1-57.