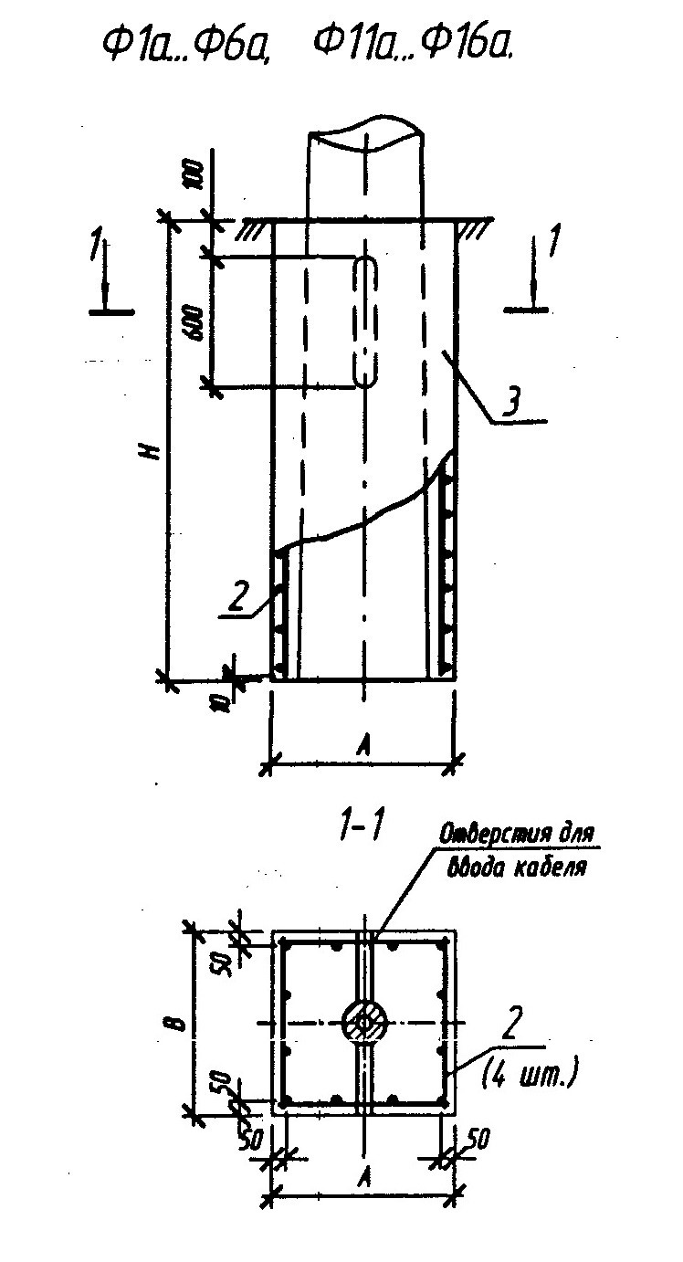
Ф 2 а
Характеристики изделия:
| Параметр | Значение |
|---|---|
| Высота Н | 2000 мм |
| Длина А | 700 мм |
| Ширина В | 700 мм |
| Вес | 1825 кг |
| Серия | Б3.507.1-3.04 |
| Норма погрузки на машину (20тн) | 11 шт |
| Вагонная норма погрузки | - |
Цена:
Рассчитать стоимостьФундамент Ф 2 а изготавливается из тяжелого бетона и предназначен для установки стоек СКЦ согласно нормам серии Б3.507.1-3.04.
