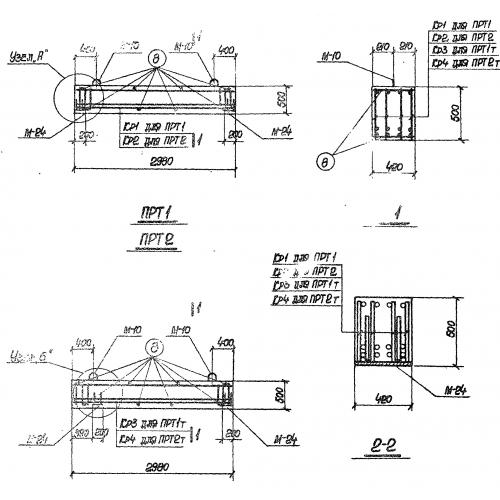
ПРТ

Чертеж изделия:
Характеристики изделия:
ПараметрЗначение
длина2980 мм
ширина420 мм
высота500 мм
вес1570 кг
серияИС-01-05

ПРТ прогон по серии ИС-01-05.