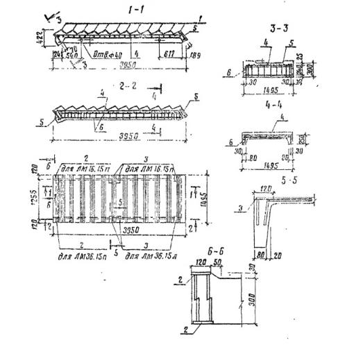
ЛМ 36.15

Чертеж изделия:
Характеристики изделия:
ПараметрЗначение
длина3950 мм
ширина1495 мм
высота1730 мм
вес1950 кг
серияТП 501-07-5.84

ЛМ 36.15 Лестничные марши по серии ТП 501-07-5.84.